Циклоны СЦН-50
Циклоны СЦН-50 предназначены для очистки газа от абразивной пыли в литейных производствах, энергетике, в производстве строительных материалов. Повышенная стойкость к абразивному износу достигнуто за счет следующего: спиральный ввод запыленного газа в циклон, увеличение длины цилиндрической части циклона и увеличению диаметра выхода пыли из циклона. Циклоны изготавливаются как правого вращения газового потока, так и левого. Циклоном правого исполнения принято называть циклон с вращением газового потока по часовой стрелки, если смотреть со стороны входа очищенного воздуха, "Левым" - вращение потока против часовой стрелки.
Эффективность циклонов СЦН-50 в зависимости от характеристик улавливаемых частиц составляет 80-95%. Сопротивление циклонов порядка 1000-1200 Па. Коэффициент гидравлического сопротивления - 185.
Циклоны СЦН-50 изготавливаем одиночного исполнения и группового исполнения.
Циклон СЦН-50 без улитки Циклон СЦН-50 с улиткой

|
Наименование |
Производительность, м3/ч |
D |
H/H1 |
L |
H0 |
a/b |
a1 |
d |
масса, кг |
ЦИКЛОН СЦН-50-300 |
623-890 |
300 |
1325/1055 |
420 |
390 |
75/150 |
135 |
80 |
38 |
ЦИКЛОН СЦН-50-400 |
1130-1582 |
400 |
1650/1380 |
530 |
425 |
100/200 |
180 |
110 |
64 |
ЦИКЛОН СЦН-50-500 |
1760-2473 |
500 |
2025/1705 |
670 |
490 |
125/250 |
225 |
135 |
97 |
ЦИКЛОН СЦН-50-600 |
2543-3560 |
600 |
2450/2030 |
830 |
575 |
150/300 |
270 |
160 |
141 |
ЦИКЛОН СЦН-50-700 |
3462-4846 |
700 |
2775/2355 |
950 |
615 |
175/350 |
315 |
188 |
187 |
ЦИКЛОН СЦН-50-800 |
4522-6330 |
800 |
3200/2680 |
1110 |
700 |
200/400 |
360 |
215 |
246 |
ЦИКЛОН СЦН-50-900 |
5723-8012 |
900 |
3525/3005 |
1220 |
740 |
225/450 |
405 |
242 |
305 |
ЦИКЛОН СЦН-50-1000 |
7065-9891 |
1000 |
3950/3330 |
1380 |
825 |
250/500 |
450 |
269 |
380 |
ЦИКЛОН СЦН-50-1200 |
10174-14243 |
1200 |
4700/3980 |
1650 |
950 |
300/600 |
540 |
323 |
543 |
ЦИКЛОН СЦН-50-1400 |
13843-19386 |
1400 |
5350/4630 |
1880 |
1025 |
350/700 |
630 |
376 |
721 |
ЦИКЛОН СЦН-50-1600 |
18086-25320 |
1600 |
6100/5280 |
2160 |
1110 |
400/800 |
720 |
430 |
939 |
ЦИКЛОН СЦН-50-1800 |
22891-32046 |
1800 |
6860/5930 |
2435 |
1280 |
450/900 |
810 |
484 |
1189 |
ЦИКЛОН СЦН-50-2000 |
28260-39564 |
2000 |
7510/6580 |
2660 |
1350 |
500/1000 |
900 |
538 |
1446 |
ЦИКЛОН СЦН-50-2200 |
34195-47872 |
2200 |
7810/7230 |
2935 |
1480 |
550/1100 |
990 |
590 |
1654 |
ЦИКЛОН СЦН-50-2400 |
40694-56972 |
2400 |
8510/7880 |
3210 |
1610 |
600/1200 |
1080 |
645 |
1966 |
ЦИКЛОН СЦН-50-2600 |
47759-66863 |
2600 |
9660/8530 |
3435 |
1680 |
650/1300 |
1170 |
700 |
2418 |
ЦИКЛОН СЦН-50-2800 |
55390-77545 |
2800 |
10200/9180 |
3795 |
1880 |
700/1400 |
1260 |
755 |
2749 |
ЦИКЛОН СЦН-50-3000 |
63585-89019 |
3000 |
10920/9830 |
4050 |
2010 |
750/1500 |
1350 |
806 |
3250 |
ЦИКЛОН СЦН-50 одиночный на бункере

|
Наименование |
Производительность, м3/ч |
D |
H/H1 |
В/В2 |
d |
L |
H2 |
Объем, м3 |
масса, кг |
ЦИКЛОН СЦН-50-300х1 |
623-890 |
300 |
1325/1055 |
360 |
200 |
390 |
600 |
0,11 |
103 |
ЦИКЛОН СЦН-50-400х1 |
1130-1582 |
400 |
1650/1380 |
480 |
200 |
480 |
800 |
0,21 |
64 |
ЦИКЛОН СЦН-50-500х1 |
1760-2473 |
500 |
2025/1705 |
600 |
200 |
600 |
1000 |
0,35 |
97 |
ЦИКЛОН СЦН-50-600х1 |
2543-3560 |
600 |
2450/2030 |
720 |
200 |
720 |
1200 |
0,54 |
141 |
ЦИКЛОН СЦН-50-700х1 |
3462-4846 |
700 |
2775/2355 |
840 |
200 |
840 |
1400 |
0,78 |
187 |
ЦИКЛОН СЦН-50-800х1 |
4522-6330 |
800 |
3200/2680 |
960 |
200 |
960 |
1600 |
1,08 |
246 |
ЦИКЛОН СЦН-50-900х1 |
5723-8012 |
900 |
3525/3005 |
1080 |
200 |
1080 |
1800 |
1,44 |
305 |
ЦИКЛОН СЦН-50-1000х1 |
7065-9891 |
1000 |
3950/3330 |
1200 |
200 |
1200 |
2000 |
1,87 |
380 |
ЦИКЛОН СЦН-50-1200х1 |
10174-14243 |
1200 |
4700/3980 |
1440 |
200 |
1440 |
2400 |
2,96 |
543 |
ЦИКЛОН СЦН-50-1400х1 |
13843-19386 |
1400 |
5350/4630 |
1680 |
200 |
1680 |
2800 |
4,40 |
721 |
ЦИКЛОН СЦН-50-1600х1 |
18086-25320 |
1600 |
6100/5280 |
1920 |
200 |
1920 |
3200 |
6,23 |
939 |
ЦИКЛОН СЦН-50-1800х1 |
22891-32046 |
1800 |
6860/5930 |
2160 |
200 |
2160 |
3600 |
8,50 |
1189 |
ЦИКЛОН СЦН-50-2000х1 |
28260-39564 |
2000 |
7510/6580 |
2400 |
200 |
2400 |
4000 |
11,25 |
1446 |
ЦИКЛОН СЦН-50-2200х1 |
34195-47872 |
2200 |
7810/7230 |
2640 |
200 |
2640 |
4400 |
14,54 |
1654 |
ЦИКЛОН СЦН-50-2400х1 |
40694-56972 |
2400 |
8510/7880 |
2880 |
200 |
2880 |
4800 |
18,40 |
1966 |
ЦИКЛОН СЦН-50-2600х1 |
47759-66863 |
2600 |
9660/8530 |
3120 |
200 |
3120 |
5200 |
22,89 |
2418 |
ЦИКЛОН СЦН-50-2800х1 |
55390-77545 |
2800 |
10200/9180 |
3360 |
200 |
3360 |
5600 |
28,05 |
2749 |
ЦИКЛОН СЦН-50-3000х1 |
63585-89019 |
3000 |
10920/9830 |
3600 |
200 |
3600 |
6000 |
33,92 |
3250 |
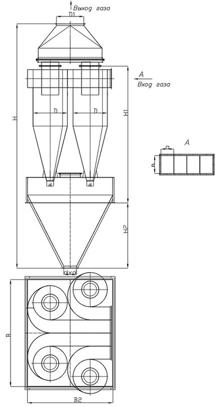
ЦИКЛОН СЦН-50 группа из двух циклонов на общем бункере

|
Наименование |
Производительность, м3/ч |
D |
H/H1 |
H2 |
B |
B2 |
d |
Объем, м3 |
масса, кг |
ЦИКЛОН СЦН-50-400х2 |
2260-3164 |
400 |
3170/1830 |
870 |
1100 |
1100 |
200 |
1,03 |
322 |
ЦИКЛОН СЦН-50-500х2 |
3520-4946 |
500 |
3810/2155 |
1080 |
1300 |
1300 |
200 |
1,56 |
464 |
ЦИКЛОН СЦН-50-600х2 |
5086-7120 |
600 |
4230/2480 |
1080 |
1300 |
1300 |
200 |
4,56 |
530 |
ЦИКЛОН СЦН-50-700х2 |
6924-9692 |
700 |
4980/2810 |
1400 |
1600 |
1600 |
200 |
2,64 |
779 |
ЦИКЛОН СЦН-50-800х2 |
9044-12660 |
800 |
5400/3130 |
1400 |
1600 |
1600 |
200 |
2,64 |
871 |
ЦИКЛОН СЦН-50-900х2 |
11446-16024 |
900 |
6430/3455 |
2000 |
2100 |
2100 |
200 |
5,45 |
1350 |
ЦИКЛОН СЦН-50-1000х2 |
14130-19782 |
1000 |
6850/3780 |
2000 |
2100 |
2100 |
200 |
5,45 |
1468 |
ЦИКЛОН СЦН-50-1200х2 |
20348-28486 |
1200 |
7500/4430 |
2000 |
2400 |
2400 |
200 |
7,07 |
1741 |
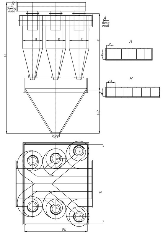
ЦИКЛОН СЦН-50 группа из чертырех циклонов на общем бункере

|
Наименование |
Производительность, м3/ч |
D |
H/H1 |
H2 |
B |
B2 |
D/d |
Объем, м3 |
масса, кг |
ЦИКЛОН СЦН-50-400х4 |
4520-6328 |
400 |
3170/1830 |
860 |
1100 |
1100 |
400/200 |
1,03 |
501 |
ЦИКЛОН СЦН-50-500х4 |
7040-9892 |
500 |
4100/2155 |
1400 |
1600 |
1600 |
550/200 |
2,64 |
885 |
ЦИКЛОН СЦН-50-600х4 |
10172-14240 |
600 |
4600/2480 |
1400 |
1600 |
1600 |
600/200 |
2,64 |
1061 |
ЦИКЛОН СЦН-50-700х4 |
13848-19384 |
700 |
5550/2810 |
2000 |
2100 |
2100 |
700/200 |
5,45 |
1606 |
ЦИКЛОН СЦН-50-800х4 |
18088-25320 |
800 |
6050/3130 |
2000 |
2100 |
2100 |
800/200 |
5,45 |
1842 |
ЦИКЛОН СЦН-50-900х4 |
22892-32048 |
900 |
6375/3455 |
2000 |
2400 |
2400 |
900/200 |
7,07 |
2201 |
ЦИКЛОН СЦН-50-1000х4 |
28260-39564 |
1000 |
7400/3780 |
2500 |
2600 |
2600 |
1000/200 |
9,48 |
2795 |
ЦИКЛОН СЦН-50-1200х4 |
40696-56972 |
1200 |
8050/4430 |
2500 |
3100 |
3100 |
1000/200 |
13,36 |
3692 |
ЦИКЛОН СЦН-50 группа из шести циклонов на общем бункере

|
Наименование |
Производительность, м3/ч |
D |
H/H1 |
H2 |
B |
B2 |
d |
Объем, м3 |
масса, кг |
ЦИКЛОН СЦН-50-500х6 |
10560-14838 |
500 |
4230/2155 |
1400 |
1790 |
1600 |
200 |
2,95 |
1109 |
ЦИКЛОН СЦН-50-600х6 |
15258-21360 |
600 |
5260/2480 |
2000 |
2170 |
2100 |
200 |
5,63 |
1719 |
ЦИКЛОН СЦН-50-700х6 |
20772-29076 |
700 |
5690/2810 |
2000 |
2520 |
2300 |
200 |
7,11 |
2107 |
ЦИКЛОН СЦН-50-800х6 |
27132-37980 |
800 |
6310/3130 |
2200 |
2870 |
2500 |
200 |
9,27 |
2661 |
Изготавливаем к циклонам постаменты, бункера, воздуховоды, а также групповые циклонные установки.
Изготавливаем устройства выгрузки: шиберные затворы, челюстные затворы, пылевые затворы.
Циклоны СЦН-50 изготавливаются из Ст. 3, S-3 мм, Бункера – Ст.3, S- 4 мм.
Изготавливаем циклоны из нержавеющей стали.
По требованию заказчика толщина металла при изготовлении циклонов и бункеров может быть увеличена.