Промыватель ЛИОТ-ЦВП
Циклон ЛИОТ-ЦВП с водяной пленкой
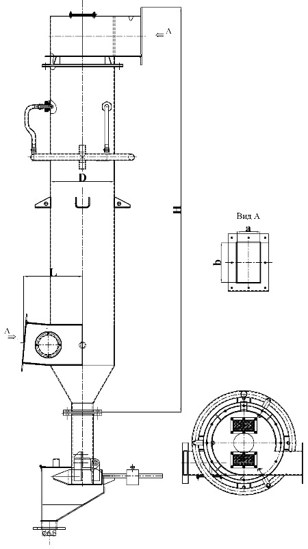
Циклон с водяной пленкой ЛИОТ-ЦВП представляет собою вертикально расположенный цилиндр, внутренняя стенка которого покрыта стекающей вниз пленкой воды. Подвод запыленного воздуха осуществляется посредством прямоугольного патрубка, приключенного касательно к цилиндру в нижней его части. Отвод очищенного воздуха производится вверху цилиндра таким же патрубком, приключенным по ходу вращения воздушного потока. Внизу цилиндр оканчивается конусом и присоединенным к нему патрубком для отвода загрязненной воды.
В верхней стенке входного патрубка имеется небольшой лаз для очистки внутренних стенок от возможных в некоторых случаях наростов пыли, образующихся на входе в циклон.
Областью применения циклонов ЛИОТ-ЦВП с водяной пленкой является очистка отработанного вентиляционного воздуха от пыли перед выбросом в его в атмосферу за пределы здания.
Скорость входа воздуха в циклон рекомендуется применять в пределах 18 - 22 м/сек. Входную скорость ниже 15 м/сек применять не следует, так как это приводит к значительному снижению степени очистки.
|
|
< 5 мкм |
1-2 мкм |
2-3 мкм |
3-4 мкм |
4-5 мкм |
5-10 мкм |
10-15 мкм |
15-20 мкм |
|
Эффективность, % |
74,0 |
84,5 |
92,0 |
92,0 |
92,0 |
96,0 |
98,0 |
98,7 |

|
Наименование |
Произво- дительность, м3/час |
D, мм |
Н, мм |
а, мм |
b, мм |
расход воды, л/с |
число сопел |
Масса, кг |
|
Циклон ЛИОТ-ЦВП 315 |
1350 - 1900 |
315 |
2164 |
122 |
204 |
0,14 |
3 |
72 |
|
Циклон ЛИОТ-ЦВП 443 |
2650 - 3700 |
433 |
2793 |
165 |
295 |
0,20 |
4 |
120 |
|
Циклон ЛИОТ-ЦВП 570 |
3750 - 5250 |
570 |
3523 |
202 |
352 |
0,24 |
5 |
197 |
|
Циклон ЛИОТ-ЦВП 634 |
4800 - 6800 |
634 |
3864 |
228 |
392 |
0,27 |
5 |
220 |
|
Циклон ЛИОТ-ЦВП 730 |
6250 - 8750 |
730 |
4376 |
258 |
452 |
0,30 |
6 |
285 |
|
Циклон ЛИОТ-ЦВП 793 |
7400 - 10400 |
793 |
4712 |
282 |
492 |
0,33 |
6 |
337 |
|
Циклон ЛИОТ-ЦВП 888 |
9500 - 13200 |
888 |
5218 |
318 |
552 |
0,36 |
6 |
411 |
Циклоны ЛИОТ-ЦВП устанавливаются как на всасывающий, так и на нагнетательной линии. Возможно объединение циклонов в группы.
Напор воды в трубопроводе перед соплами должен поддерживаться 0,3 – 0,4 атм.